Wat heeft schaken met octrooien te maken, behalve dat het NK schaken voor bedrijfsteams vorige week zaterdag bij het Europees Octrooibureau in Rijswijk werd gehouden? Meer dan je dacht waarschijnlijk. Er zijn namelijk heel wat octrooien of octrooiaanvragen die op de een of andere manier iets met het schaakspel te maken hebben. De komende tijd zal ik hier wat voorbeelden geven. Niet alles wat de revue gaat passeren is in technisch opzicht even hoogstaand, maar de uitvinding van vandaag is dat wel. Bovendien het vermelden waard: deze staat op naam van niemand minder dan wijlen de kluizenaar van Pasadena, ook bekend onder de naam Robert J. “Bobby” Fischer, 11e wereldkampioen schaken (1972-1975) en misschien wel de grootste schaker aller tijden. Met hem is het slecht afgelopen, maar niet met zijn uitvinding.
Titel: Digital chess clock
Octrooinummer: US4884255
Land: Verenigde Staten
Uitvinder: Robert James Fischer, Pasadena, Calif. 91105
Datum aanvraag: 5 augustus 1988
Datum verlening: 28 november 1989
Classificatie: G04F1/005; G07C1/28; A63F2250/1084
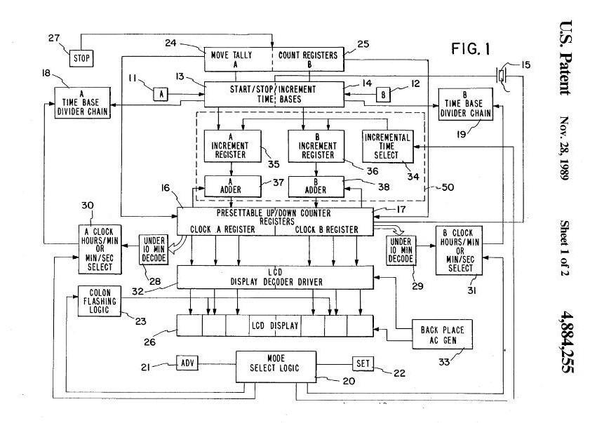
Voor wie het schema niet onmiddellijk doorgrondt: inderdaad, het betreft hier de kern van de ons inmiddels zo vertrouwde digitale klok met de mogelijkheid om bij iedere zet er weer wat tijd bij te krijgen. De eerste conclusie (in het Engels: claim) bij dit octrooi (de conclusies bij een octrooi geven kort en bondig weer waarvoor precies bescherming wordt verkregen) is gericht op “A timing device for timing two events which comprises: a pair of clock means for timing two different events; compensation means coupled to said clock means for incrementing or decrementing each of said clock means … (etc.)“. Conclusie 14 richt zich zelfs helemaal op een schaakklok: “A chess clock for timing a competitive chess game comprising: a pair of clock means for timing each of the players of the chess game; a means coupled to said clock means for setting an initial time period for each of said clock means; a compensation means coupled to said clock means for incrementing each of said clock means … (etc.)“.
Heeft Fischer terecht een octrooi gekregen? Het Amerikaanse octrooibureau heeft destijds bij zijn onderzoek naar de stand van de techniek in ieder geval niet iets gevonden dat hieraan in de weg zou staan. Maakt het voor ons iets uit of Fischer dit octrooi al dan niet terecht heeft gekregen? Nee, helemaal niets. Ten eerste heeft hij alleen maar een Amerikaans octrooi aangevraagd (en gekregen), dat verschaft buiten de Verenigde Staten geen enkele bescherming. Ten tweede is het octrooi al op 2 januari 2002 verlopen, naar ik vermoed omdat Fischer niet meer kon of wilde betalen voor de instandhouding ervan (hij leefde toen, als ik het goed heb, in ballingschap op de Filipijnen, omdat terugkeer naar de Verenigde Staten na zijn match tegen Spassky in 1992 in Belgrado niet meer mogelijk was).
De bijdrage van Fischer aan de schaaksport gaat dus verder dan de inzichten en partijen die hij ons heeft nagelaten. Het is misschien wat overdreven om te zeggen dat we zonder zijn uitvinding nog steeds met de mechanische Garde- of Koopman-klokken (of erger nog, met hun Russische evenknie, die witte) zouden spelen, maar wellicht had de digitale klok zonder het adagium “Fischer klok” toch een minder snelle opmars gemaakt door onze geledingen.


